Mercedes-Benz získal patent na řešení, které měla už Škoda Favorit. Husí krk totiž nestačí
Gumová průchodka kabelového svazku do pátých dveří je podle Mercedesu-Benz takový problém, že je třeba ji nahradit jiným řešením. To, na které získal patent, však už dávno použil klíčový československý automobil.
Páté dveře či víka kufru moderních aut musí mít přivedenou elektřinu. Ať už jde jen o elektronické odjištění zámku, osvětlení registrační značky nebo třeba část zadních svítilen, je nutné do toho přivést elektřinu. Zpravidla se to dělá pomocí „husího krku“, skládané gumové hadičky mezi pátými dveřmi a karoserií, v níž jsou vedeny kabely.
Tento husí krk však po letech může popraskat a následně má auto problémy s elektroinstalací, protože se skrz praskliny do vozu dostává voda tam, kam nemá. Mercedes-Benz se to nyní snaží vyřešit. Chce ten husí krk nahradit kontakty, jako měla Škoda Favorit. Nebo skoro.
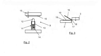
Nejde o nic jiného než kovové plošky, na které by dosedaly pružinou tlačené kovové piny. Při zavřených pátých dveřích by elektřina proudila, ve chvíli otevření už však nikoliv. Tak to alespoň vyplývá z žádosti o patent na tento systém, který si automobilka podala u německé agentury na ochranu duševního vlastnictví a následně patent získala.
Vypadá to jednoduše, ale má to nějaká úskalí. Osvětlení registrační značky i část zadních lamp na pátých dveřích samozřejmě může při otevření zhasnout, jenže zrovna Mercedes-Benz mívá na pátých dveřích při jejich otevření buď lampičky, které osvětlují prostor pod vraty a zároveň mají malá červená světla, anebo alespoň červeně svítící tlačítka pro elektrické zavírání.
Obecně jsou tlačítka pro elektrické zavírání dnes až na výjimky umisťována právě na páté dveře a kdyby automobilka chtěla vrata elektřinou nezásobovat při otevření vůbec, musela by tlačítka přesunout. Ani tak by to neznamenalo úplné přerušení vedení do pátých dveří – kontakty neřeší hadici pro kapalinu do ostřikovačů.
Teď budeme trochu spekulovat, ale je možné, že Mercedes-Benz chce pouze snížit množství kabelů tahaných husím krkem, nikoliv kabely nahradit zcela. Patentované kontakty by mohl použít na osvětlení, stejně jako tomu bylo u favoritu pro couvací a mlhová světla, a třeba napájení stěrače, ovšem tlačítka elektrického zavírání pátých dveří by spolu se svým osvětlením mohla mít kabel v husím krku.
Také je ale běžné, že si automobilky patenty pojišťují nápady a až pak se budou rozhodovat, zda je použít. A tak se prvku z favoritu na mercedesech vůbec nemusíme dočkat.
zdroj: DPMA přes CarBuzz | foto: DPMA | video: Mercedes-Benz





























































































